Ergänzung zumErsatzteilkatalog |

Supplement to spare part list |
| Bemerkung | |
| 2.1. | Fahrgestell - Rahmen |
| 2.3. | Fahrgestell - Lenker |
| 2.11. | Fahrgestell - Hinterradfederung |
| 2.13. | Fahrgestell - Auspuffanlage |
| 2.14. | Fahrgestell - Vorderradkotflügel |
| 2.16. | Fahrgestell - Sitzbank |
| 2.19. | Fahrgestell - Sonderzubehör, Verkleidung |
| 2.20. | Fahrgestell - Befestigungsteile f. Verkleidung |
| 2.21. | Fahrgestell - Verkleidung |
| 2.22. | Fahrgestell - Sonderzubehör, Hinterer Aufbau |
| 2.23. | Fahrgestell - Seitentaschen |
| 2.24. | Fahrgestell - Rahmen f. Funkgerät |
| 3.1. | Elektr. Ausrüst. - Scheinwerfer |
| 3.2. | Elektr. Ausrüst. - Blinkanlage vorderer Aufbau |
| 3.3. | Elektr. Ausrüst. - Instrumente |
| 3.5. | Elektr. Ausrüst. - Innere Elektrik |
| 3.7. | Elektr. Ausrüst. - Kabel u. Zubehör |
| 3.9. | Elektr. Ausrüst. - Armaturenbrett |
| 3.10. | Elektr. Ausrüst. - Hinterer Aufbau u. Funkgerätesystem U 600 |
| 3.11. | Elektr. Ausrüst. - Funkgerätesystem U 700 |
INDEX
| Remarks | |
| 2.1. | Casis - Frame |
| 2.3. | Casis - Handlebar |
| 2.11. | Casis - Rear suspension |
| 2.13. | Casis - Exhaust pipe |
| 2.14. | Casis - Front mudguard |
| 2.16. | Casis - Riders seat |
| 2.19. | Casis - Special accessory, Fairing |
| 2.20. | Casis - Mounting parts f. fairing |
| 2.21. | Casis - Fairing |
| 2.22. | Casis - Special accessory, Rear assembly |
| 2.23. | Casis - Side panniers |
| 2.24. | Casis - Radio set frame |
| 3.1. | Elektrical Equipment - Headlamp |
| 3.2. | Elektrical Equipment - Trafficator, front assembly |
| 3.3. | Elektrical Equipment - Instruments |
| 3.5. | Elektrical Equipment - Internal electric |
| 3.7. | Elektrical Equipment - Cables and accessories |
| 3.9. | Elektrical Equipment - Instrument panel |
| 3.10. | Elektrical Equipment - Rear assembly and radio set system U 600 |
| 3.11. | Elektrical Equipment - Radio set system U 700 |
Als Grundlage der Ersatzteilbestellungen für das Funkkrad ETZ 250 F dient
der vorliegende Ersatzteilkatalog imZusammenhang mit dem Katalog der ETZ 250.
In dieser Doklumentation sind nur Teile aufgeführt, die sich gegenüber
der Serienmaschine ETZ 250 verändern.
VEB MOTORRADWERK ZSCHOPAU
HA Ersatzteilwirtschaft und Service
Basis for Radio motorcycle ETZ 250 F spare part orders is your spare
part list edition 1989, under consideration of spare part list changes published with
MZ informations.
This spare part list contains mainly such parts suitable for the Radio motorcycle.
All other spare part orders should be made in accordance with the ETZ 250 spare part list.
VEB MOTORRADWERK ZSCHOPAU
Spare part supply and Service Dept.
| Bild-Nr. Ref.No. | Teilnummer Part.Nr. | ZAK-Nr. | Bezeichnung | Description | Anzahl Quantity | Bemerkung Remarks | R | VE PU | VT X | N N |
| 1 | 30-21.000 | Rahmen vollst. (lackiert) | Frame compl. (paint.) | 1 |
| Bild-Nr. Ref.No. | Teilnummer Part.Nr. | ZAK-Nr. | Bezeichnung | Description | Anzahl Quantity | Bemerkung Remarks | R | VE PU | VT X | N N |
| 1 | 30-23.403 | 1342942208029529 | Lenkerrohr | Handlebar | 1 | |||||
| 7 | 96-21.963 | Rueckspiegel 31049.17141 | Rear mirror 31049.17141 | 1 | ||||||
| 96-21.955 | Rueckspiegel 31049.18140 | Rear mirror 31049.18140 | 1 | |||||||
| 8 | 22-22.144 | 1342942208028729 | Lenkerhalteschale (lack.) | Handlebar clamp (paint.) | 2 | |||||
| 9 | 94-30.274 | Sechskantschraube M8x40 | Hexagon screw M 8x40 | 4 | ||||||
| 00-70.801 | 1342949207004129 | Scheibe 8,4 TGL 0-125-St | Washer 8,4 TGL 0-125-St | 4 | ||||||
| 30-34.009 | Verschlussstopfen | Sealing plug | 2 | |||||||
| 24 | 13-30.100 | Abschlusspilz | Cover plug | 2 | ||||||
| 13-30.365 | Fuehrungsring fuer Drehgriff | Twist grip guide | 1 |
| Bild-Nr. Ref.No. | Teilnummer Part.Nr. | ZAK-Nr. | Bezeichnung | Description | Anzahl Quantity | Bemerkung Remarks | R | VE PU | VT X | N N |
| 94-24.460 | Stiftschraube BM8x25 TGL 0-835-8.8 | Thread bolt BM 8x25 TGL 0-835-8.8 | 2 | |||||||
| 30-26.401 | 1342949207176529 | Befestigungsmutter | Fastening nut | 2 |
| Bild-Nr. Ref.No. | Teilnummer Part.Nr. | ZAK-Nr. | Bezeichnung | Description | Anzahl Quantity | Bemerkung Remarks | R | VE PU | VT X | N N |
| 30-29.402 | Auspuffbefestigung vollst. mit Lagerbuchse | Silencer rod c/w bush | 1 | |||||||
| 30-28.055 | 1342949207183729 | Auspuffrohr (12,5KW) | Exhaust pipe (12,5 KW) | 1 |
| Bild-Nr. Ref.No. | Teilnummer Part.Nr. | ZAK-Nr. | Bezeichnung | Description | Anzahl Quantity | Bemerkung Remarks | R | VE PU | VT X | N N |
| 1 | 30-29.401 | 1342943200037529 | Vorderradkotflügel mit VP-Stern (lackiert) | Front mudguard c/w police badge (painted) | 1 | |||||
| 97-23.542 | VP-Stern-Schiebebild | Police badge (label) | 1 | |||||||
| 30-29.015 | Vorderradkotflügel vollst. (lackiert) | Front mudguard compl. (painted) | 1 |

| Bild-Nr. Ref.No. | Teilnummer Part.Nr. | ZAK-Nr. | Bezeichnung | Description | Anzahl Quantity | Bemerkung Remarks | R | VE PU | VT X | N N |
| 1 | 30-31.410 | 1342946209008429 | Einzelsitz vollst. | Single seat compl. | 1 | |||||
| 30-31.415 | 1342946209009229 | Bezug | Cover | 1 | ||||||
| 94-37.988 | Federring B8 TGL 7403 | Spring ring B8 TGL 7403 | 2 | |||||||
| 94-05.618 | Sechskantschraube M 8x25 TGL 0-934-6 | Hexagon screw M 8x25 TGL 0-934-6 | 2 | |||||||
| 3 | 94-30.723 | Sechskantmutter M8 TGL0-934-6 | Hexagon nut M8 TGL 0-934-6 | 2 | ||||||
| 94-28.698 | Senkblechschraube B 3,9x9,5 TGL 0-7972 | Self tapping screw B 3,9x9,5 TGL 0-7972 | 2 | |||||||
| 94-30.723 | Sechskantmutter M8 TGL0-934-6 | Hexagon nut M8 TGl 0-934-6 | 2 | |||||||
| 00-70.801 | 1342949207004129 | Scheibe 8,4 TGL 0-125-St | Washer 8,4 TGL 0-125-St | 2 |

| Bild-Nr. Ref.No. | Teilnummer Part.Nr. | ZAK-Nr. | Bezeichnung | Description | Anzahl Quantity | Bemerkung Remarks | R | VE PU | VT X | N N |
| 1 | 30-38.431 | 1342989209108729 | Seitenstuetze links, vollst. | Side support left, compl. | 1 | |||||
| 2 | 30-38.435 | 1342989209111629 | Winkel f. Verkleidung auszen | Fairing angle, ext. | 2 | |||||
| 3 | 00-70.801 | 1342949207004129 | Scheibe 8,4 TGL 0-125-St | Washer 8,4 TGL 0-125-St | 2 | |||||
| 4 | 94-37.988 | Federring B8 TGL 7403 | Spring ring B8 TGL 7403 | 3 | ||||||
| 5 | 94-05.378 | Sechskantschraube M 8x16 TGL 0-933-8.8 | Hexagon screw M 8x16 TGL 0-933-8.8 | 2 | ||||||
| 6 | 30-38.438 | 1342989209115929 | Winkel f. Armaturenbrett | Angle f. instrum. panel | 2 | |||||
| 7 | 94-36.013 | Scheibe 6,4 TGL 0-125-St | Washer 6,4 TGL 0-125-St | 2 | ||||||
| 8 | 94-37.867 | Federring B6 TGL 7403 | Spring ring B6 TGL 7403 | 2 | ||||||
| 9 | 94-03.882 | Sechskantschraube M 6x14 TGL 0-933-8.8 | Hexagon screw M 6x14 TGL 0-933-8.8 | 2 | ||||||
| 10 | 94-30.723 | Sechskantmutter M8 TGL 0-934-6 | Hexagon nut M8 TGL 0-934-6 | 5 | ||||||
| 11 | 00-70.801 | 1342949207004129 | Scheibe 8,4 TGL 0-125-St | Washer 8,4 TGL 0-125-St | 5 | |||||
| 12 | 94-37.424 | Zahnscheibe B8 TGL 0-6797 | Tothed washer B8 TGL 0-6797 | 1 | ||||||
| 13 | 30-38.420 | 1342989209105229 | Obere Strebe | Top rod | 1 | |||||
| 14 | 30-38.440 | 1342989209114029 | Winkel f. Armaturenbrett, Mitte | Angle f. instrum. panel, centre | 1 | |||||
| 15 | 94-36.062 | Scheibe 6,4 TGL 0-9021-St | Washer 6,4 TGL 0-9021-St | 2 | ||||||
| 94-36.013 | Scheibe 6,4 TGL 0-125-St | Washer 6,4 TGL 0-125-St | 1 | |||||||
| 16 | 94-03.962 | Sechskantschraube M6x16 TGL 0-933-8.8 | Hexagon screw M6x16 TGL 0-933-8.8 | 1 | ||||||
| 17 | 94-06.362 | Sechskantschraube M8x55 TGL 0-933-8.8 | Hexagon screw M8x55 TGL 0-933-8.8 | 3 | ||||||
| 18 | 30-38.429 | 1342989209109529 | Scheinwerferhalter vst. | Headlamp support compl. | 1 | |||||
| 18a | 30-38.430 | Seitenstütze links, vollst. | Side support right, compl. | 1 | ||||||
| 19 | 30-38.439 | 1342989209113229 | Oberteil mittl. Befestig. | Top part centre support | 1 | |||||
| 20 | 30-38.411 | 1342989209148229 | Mittl. Befestig., Verkleidung | Fairing support centre | 1 | |||||
| 21 | 94-05.458 | Sechskantschraube M8x20 TGL 0-933-8.8 | Hexagon screw M8x20 TGL 0-933-8.8 | 1 | ||||||
| 22 | 94-37.867 | Federring B6 TGL 7403 | Spring ring B6 TGL 7403 | 1 | ||||||
| 23 | 94-30.522 | Sechskantmutter M6 TGL 0-934-6 | Hexagon nut M6 TGL 0-934-6 | 1 | ||||||
| 00-18.211 | 1342989207521329 | Scheibe | Washer | 2 | ||||||
| 24 | 94-37.988 | Federring B8 TGL 7403 | Spring ring B8 TGL 7403 | 1 | ||||||
| 25 | 30-38.424 | 1342989209106029 | Stuetzstrebe, vst. | Support rod complete | 1 | |||||
| 26 | 30-38.428 | 1342989209110829 | Schelle fuer Stuetzstrebe | Support rod clamp | 1 |

| Bild-Nr. Ref.No. | Teilnummer Part.Nr. | ZAK-Nr. | Bezeichnung | Description | Anzahl Quantity | Bemerkung Remarks | R | VE PU | VT X | N N |
| 1 | 94-06.707 | Sechskantschraube M 8x80 TGL 0-931-8.8 | Hexagon screw M 8x80 TGL 0-931-8.8 | 1 | ||||||
| 2 | 00-70.801 | 1342949207004129 | Scheibe 8,4 TGL 0-125-St | Washer 8,4 TGL 0-125-St | 2 | |||||
| 3 | 30-38.437 | 1342989209116729 | Laengsstrebe geschw. | Longitud. rod welded | 1 | |||||
| 4 | 94-37.988 | Federring B 8 TGL 7403 | Spring ring B 8 TGL 7403 | 1 | ||||||
| 5 | 94-30.723 | Sechskantmutter M 8 TGL 0-934-6 | Hexagon nut M 8 TGL 0-934-6 | 1 | ||||||
| 6 | 94-30.522 | Sechskantmutter M 6 TGL 0-934-6 | Hexagon nut M 6 TGL 0-934-6 | 2 | ||||||
| 94-32.147 | Hutmutter M 6 TGL 0-1587-6 | Acorn nut M 6 TGL 0-1587-6 | 2 | |||||||
| 7 | 94-36.062 | Scheibe 6,4 TGL 0-9021-St | Washer 6,4 TGL 0-9021-St | 4 | ||||||
| 8 | 94-32.147 | Hutmutter M 6 TGL 0-1587-6 | Acorn nut M 6 TGL 0-1587-6 | 3 | ||||||
| 9 | 94-37.867 | Federring B 6 TGL 7403 | Spring ring B 6 TGL 7403 | 2 | ||||||
| 10 | 94-36.013 | Scheibe 6,4 TGL 0-125-St | Washer 6,4 TGL 0-125-St | 3 | ||||||
| 11 | 30-34,442 | 1342989209117529 | Querstrebe geschw. | Cross rod welded | 1 | |||||
| 12 | 94-03.858 | Sechskantschraube M 6x12 TGL 0-933-8.8 | Hexagon screw M 6x12 TGL 0-933-8.8 | 3 | ||||||
| 13 | 94-04.096 | Sechskantschraube M 6x20 TGL 0-933-8.8 | Hexagon screw M 6x20 TGL 0-933-8.8 | 2 | ||||||
| 14 | 30-38.405 | 1342989209122029 | Distanzstab vst. | Distance rod compl. | 1 | |||||
| 15 | 94-30.522 | Sechskantmutter M 6 TGL 0-934-6 | Hexagon nut M 6 TGL 0-934-6 | 2 | ||||||
| 16 | 94-36.062 | Scheibe 6,4 TGL 0-9021-St | Washer 6,4 TGL 0-9021-St | 2 | ||||||
| 17 | 94-37.867 | Federring B 6 TGL 7403 | Spring ring B 6 TGL 7403 | 2 |

| Bild-Nr. Ref.No. | Teilnummer Part.Nr. | ZAK-Nr. | Bezeichnung | Description | Anzahl Quantity | Bemerkung Remarks | R | VE PU | VT X | N N |
| 1 | 30-38.411 | 1342989209148229 | Verkleidung | Fairing | 1 | |||||
| 2 | 94-30.282 | Sechskantmutter M 4 TGl 0-934-6 | Hexagon nut M 4 TGL 0-934-6 | 7 | ||||||
| 3 | 94-37.787 | Federring B 4 TGL 7403 | Spring ring B 4 TGl 7403 | 7 | ||||||
| 4 | 94-35.785 | Scheibe 4,3 TGL 0-125-St | Washer 4,3 TGL 0-125-St | 7 | ||||||
| 5 | 94-19.912 | Linsensenkschraube BM 4x12 TGL 16524-4.8 | Ovalhead screw BM 4x12 TGL 16524-4.8 | 7 | ||||||
| 6 | 36-38.051 | Windschutzscheibe | Windscreen | 1 | ||||||
| 7 | 30-38.404 | Kederband | Sealing strip | 1 | ||||||
| 94-06.401 | Flachrundschraube M 5x20 TGL 0-603 | Ovalhead screw M 5x20 TGL 0-603 | 2 | |||||||
| 94-35.785 | Scheibe 5,3 TGL 0-9021-St | Washer 5,3 TGL 0-9021-St | 2 | |||||||
| 94-30.362 | Sechskantmutter M 5 TGl 0-934-6 | Hexagon nut M 5 TGL 0-934-6 | 4 | |||||||
| 30-38.528 | Gummischeibe | Rubber washer | 2 | |||||||
| 94-27.158 | Flachrundschraube M 6x16 TGL 0-603 | Ovalhead screw M 6x16 TGL 0-603 | 2 | |||||||
| 94-32.147 | Hutmutter M6 TGL 0-1587-6 | Acron nut M6 TGL 0-1587-6 | 1 | |||||||
| 94-36.013 | Scheibe 6,4 TGL 0-125-St | Washer 6,4 TGL 0-125-St | 3 | |||||||
| 94-37.867 | Federring B 6 TGL 7403 | Spring ring B 6 TGL 7403 | 2 | |||||||
| 94-19.937 | Linsensenkschraube BM 4x20 TGL 16524-4.8 | Ovalhead screw BM 4x20 TGL 16524-4.8 | 2 | |||||||
| 94-32.171 | Hutmutter M 4 TGL 0-1587-6 | Acron nut M 4 TGL 0-1587-6 | 2 | |||||||
| 94-35.785 | Scheibe 4,3 TGL 0-125-St | Washer 4,3 TGL 0-125-St | 2 |

| Bild-Nr. Ref.No. | Teilnummer Part.Nr. | ZAK-Nr. | Bezeichnung | Description | Anzahl Quantity | Bemerkung Remarks | R | VE PU | VT X | N N |
| 1 | 94-30.723 | Sechskantmutter M 8 TGL 0-934-6 | Hexagon nut M 8 TGL 0-934-6 | 2 | ||||||
| 2 | 00-70.801 | Scheibe 8,4 TGL 0-125-St | Washer 8,4 TGL 0-125-St | 2 | ||||||
| 3 | 30-38.471 | 1342989209127129 | Haltebuegel f. Seitentasche rechts, vst. | Pannier support, right compl. | 1 | |||||
| 4 | 94-07.242 | Sechskantschraube M 10x25 TGL 0-933-8.8 | Hexagon screw M 10x25 TGL 0-933-8.8 | 2 | ||||||
| 5 | 94-30.274 | Sechskantschraube M 8x40 TGL 0-933-8.8 | Hexagon screw M 8x40 TGl 0-933-8.8 | 2 | ||||||
| 7 | 94-37.988 | Federring B 8 TGL 7403 | Spring ring B 8 TGL 7403 | 1 | ||||||
| 8 | 13-21.225 | Gummibuchse | Rubber bush | 2 | ||||||
| 9 | 30-38.086 | 1342989209129829 | Verbindungsbuegel | Conection bow | 1 | |||||
| 10 | 94-05.400 | Sechskantschraube M 8x18 TGL 0-933-8.8 | Hexagon screw M 8x18 TGL 0-933-8.8 | 2 | ||||||
| 11 | entfaellt | not applicable | 0 | |||||||
| 12 | 94-36.062 | Scheibe 6,4 TGL 0-9021-St | Washer 6,4 TGL 0-9021-St | 4 | ||||||
| 13 | 94-37.867 | Federring B 6 TGL 7403 | Spring ring B 6 TGL 7403 | 4 | ||||||
| 14 | 94-33.453 | Fluegelmutter M 6 TGL 0-315-5 | Wing nut M 6 TGL 0-315-5 | 4 | ||||||
| 15 | 94-30.885 | Sechskantmutter M 10 TGL 0-934-6 | Hexagon nut M 10 TGl 0-934-6 | 2 | ||||||
| 16 | 94-38.425 | Federscheibe 10 TGL 0-137 | Spring Washer 10 TGL 0-137 | 2 | ||||||
| 17 | 30-28.402 | Auspuffbefestig. vollst. mit Lagerbuchsen | Holder for Silencer | 1 | ||||||
| 18 | 00-18.211 | Scheibe | Washer | 1 | ||||||
| 19 | 94-36.183 | Scheibe 10,5 TGL 0-125-St | Washer 10,5 TGL 0-125-St | 1 |

| Bild-Nr. Ref.No. | Teilnummer Part.Nr. | ZAK-Nr. | Bezeichnung | Description | Anzahl Quantity | Bemerkung Remarks | R | VE PU | VT X | N N |
| 1 | 30-38.452 | 1342989209130029 | Packtasche links, vst. | Left side pannier, compl. | 1 | |||||
| 2 | 96-21.047 | Zylindereinbauschloss II TGL 48-33202 | Cylinder lock II TGL 48-33202 | 1 | ||||||
| 3 | 30-38.466 | 1342989209006829 | Befestigungsschraube f. Seitentasche, vst. | Fastening screw for side stay compl. | 2 | |||||
| 4 | 94-36.013 | Scheibe 6,4 TGL 0-125-St | Washer 6,4 TGL 0-125-St | 3 | ||||||
| 94-37.867 | Federring B 6 TGL 7403 | Spring ring B 6 TGL 7403 | 3 | |||||||
| 5 | 94-24.460 | Stiftschraube BM 8x25 TGL 0-835-8.8 | Stud bolt BM 8x25 TGL 0-835-8.8 | 2 | ||||||
| 7 | 94-30.522 | Sechskantmutter M 6 TGL 0-934-6 | Hexagon nut M 6 TGL 0-934-6 | 9 | ||||||
| 8 | 94-25.871 | Oesenschraube AM 6x40 TGL 4737 | Eyelet screw AM 6x40 TGL 4737 | 3 | ||||||
| 9 | 02-48.071 | Verschlussstopfen | Cover plug | 9 | ||||||
| 10 | 30-38.490 | 1342989209132729 | Seitentasche f. Sonderzubehoer | Accessory pannier | 1 | |||||
| 11 | 30-38.478 | 1342989209133529 | Anlagewinkel | Support angle | 3 | |||||
| 12 | 94-03.882 | Sechskantschraube M 6x14 TGL 0-933-8.8 | Hexagon screw M 6x14 TGL 0-933-8.8 | 3 | ||||||
| 13 | 94-36.013 | Scheibe 6,4 TGL 0-125-St | Washer 6,4 TGL 0-125-St | 3 | ||||||
| 14 | 94-37.867 | Federring B 6 TGL 7403 | Spring ring B 6 TGL 7403 | 3 | ||||||
| 15 | 30-38.451 | 1342989209131929 | Packtasche rechts, vollst. | Right side pannier compl. | 1 | |||||
| 94-49.227 | Hohlniet A C 5x12x12 TGL 0-7331 | Hollow rivet A C 5x12x12 TGL 0-7331 | 4 | |||||||
| 16 | 30-26.401 | Befestigungsmutter | Hexagon nut | 2 | ||||||
| 30-38.493 | 1342989209054329 | Verschluszriemen | Lock belt | 2 | ||||||
| 94-49.155 | Hohlniet A C 5x12x9 TGL 0-7331 | Hollow rivet A C 5x12x9 TGL 0-7331 | 4 | |||||||
| 96-18.935 | Zuziehgriff 658-087-325-5 | Locking handle 658-087-325-5 | 1 | |||||||
| 94-18.366 | Senkschraube BM 4x16 TGL 5683-5.8 | Countersunk screw BM 4x16 TGL 5683-5.8 | 2 | |||||||
| 94-30.282 | Sechskantmutter M 4 TGL 0-934-6 | Hexagon nut M 4 TGL 0-934-6 | 2 | |||||||
| 94-35.824 | Scheibe 4,3 TGL 0-9021-St | Washer 4,3 TGL 0-9021-St | 2 |

| Bild-Nr. Ref.No. | Teilnummer Part.Nr. | ZAK-Nr. | Bezeichnung | Description | Anzahl Quantity | Bemerkung Remarks | R | VE PU | VT X | N N |
| 1 | 94-18.132 | Senkschraube BM 6x20 | Countersunk screw BM 6x20 | 2 | ||||||
| 2 | 30-38.480 | 1342989209142329 | Rahmen fuer Funkgeraet | Radio set frame | 1 | |||||
| 3 | 30-21.401 | Schelle | Clamp | 2 | ||||||
| 4 | 94-37.988 | Federring B 8 TGL 7403 | Spring ring B 8 TGL 7403 | 2 | ||||||
| 5 | 94-30.723 | Sechskantmutter M 8 TGL 0-934-6 | Hexagon nut M 8 TGL0-934-6 | 2 | ||||||
| 6 | 94-15.121 | Zylinderschraube M 4x16 TGL 0-84-4.8 | Fillisterhead screw M 4x16 TGL 0-84-4.8 | 1 | ||||||
| 96-36.174 | Zylinderschraube AM 4x15 TGL 0-84 | Fillisterhead screw AM 4x15 TGL 0-84 | 1 | |||||||
| 7 | 94-37.787 | Federring B 4 TGL 7403 | Spring ring B 4 TGL 7403 | 2 | ||||||
| 8 | 94-30.282 | Sechskantmutter M 4 TGL 0-934-6 | Hexagon nut M 4 TGL 0-934-6 | 2 | ||||||
| 9 | Winkelsteckdose KA/38820.102 | Angular socket KA/38820.102 | 1 |
| Bild-Nr. Ref.No. | Teilnummer Part.Nr. | ZAK-Nr. | Bezeichnung | Description | Anzahl Quantity | Bemerkung Remarks | R | VE PU | VT X | N N |
| 22 | 30-34.423 | 1342949207276829 | Spezialmutter | Special nut | 1 |

| Bild-Nr. Ref.No. | Teilnummer Part.Nr. | ZAK-Nr. | Bezeichnung | Description | Anzahl Quantity | Bemerkung Remarks | R | VE PU | VT X | N N |
| 2 | 30-38.528 | Gummischeibe | Rubber washer | 4 | ||||||
| 3 | 94-30.610 | Sechskantmutter M 6 TGL 27689-8 | Hexagon nut M 6 TGL 27689-8 | 4 | ||||||
| 4 | 94-36.013 | Scheibe 6,4 TGL 0-125-St | Washer 6,4 TGL 0-125-St | 4 | ||||||
| 5 | 00-70.801 | 1342949207004129 | Scheibe 8,4 TGL 0-125-St | Washer 8,4 TGL 0-125-St | 1 | |||||
| 6 | 93-70.116 | Klemmschelle 63 TGL 39-215 | Clamp 63 TGL 39-215 | 1 | ||||||
| 7 | 94-05.884 | Sechskantschraube M 8x35 TGL 0-933-8.8 | Hexagon screw M 8x35 TGL 0-933-8.8 | 1 | ||||||
| 8 | 94-27.141 | Flachrundschraube M 6x20 TGL 0-603 | Ovalhead screw M 6x20 TGL 0-603 | 2 | ||||||
| 9 | 94-36.062 | Scheibe 6,3 TGL 0-9021-St | Washer 6,3 TGL 0-9021-St | 2 | ||||||
| 10 | 94-30.522 | Sechskantmutter M 6 TGL 0-934-6 | Hexagon nut M 6 TGL 0-934-6 | 3 | ||||||
| 11 | 30-34.437 | 1342989209057829 | Klemmring fuer Trichter | Funnel clamp | 1 | |||||
| 30-34.447 | 1342989209058629 | Winkel fuer Sirene | Siren angle | 1 | ||||||
| 12 | 94-15.121 | Zylinderschraube M 4x16 TGL 0-84-4.8 | Fillisterhead screw M 4x16 TGL 0-84-4.8 | 1 | ||||||
| 13 | 30-34.436 | 1342974218057829 | Trichter fuer Sirene | Siren funnel | 1 | |||||
| 14 | Kfz-Sirene 8452.2/0 | Vehicle siren 8452.2/0 | 1 | |||||||
| 15 | 94-30.282 | Sechskantmutter M 4 TGL 0-934-6 | Hexagon nut M 4 TGl 0-934-6 | 4 | ||||||
| 16 | 94-37.787 | Federring B 4 TGL 7403 | Spring ring B 4 TGL 7403 | 4 | ||||||
| 17 | 94-35.785 | Scheibe 4,3 TGL 0-125-St | Washer 4,3 TGL 0-125-St | 4 | ||||||
| 18 | 30-34.416 | 1366500009300024 | Gummitülle A FERS 124 | Rubber grommet A FERS 124 | 2 | |||||
| 19 | 94-18.366 | Senkschraube BM 4x16 TGL 5683-5.8 | Self tapping screw AM 4x16 TGL 5683-5.8 | 4 | ||||||
| 20 | Gluehlampe 12V/21W - BA 15s TGL 10833 | Bulb B 12V/21W - BA 15s TGL 10833 | 2 | |||||||
| 21/49 | Sondersignal-Scheinwerfer SK 2710 | Special signal - torch SK 2710 | 2 | |||||||
| 22 | Halogenlampe 12/55W PK 22s TGL 200-8188 | Halogen bulb 12V/55W PK 22 s TGL 200-8188 | 2 | |||||||
| 30-34.415 | 1342989209049829 | Winkel fuer Blaulichtleuchte | Bluelight lamp angle | 2 | ||||||
| 23 | 94-03.962 | Sechskantschraube M 6x16 TGL 0-933-8.8 | Hexagon screw M 6x16 TGL 0-933-8.8 | 4 | ||||||
| 24 | 30-38.444 | Abdeckgummi | Cover rubber | 1 | ||||||
| 25 | 30-34.402 | 1342989209050029 | Kabel v. Steckverbinder z. Blaulichtleuchte | Cable from terminal board to bluelight lamp | 2 | |||||
| 30-34.491 | 1342989209051929 | Kabel v. Steckverbinder z. Blinkleuchte vorn links | Cable from terminal board to front trafficator,left | 1 | ||||||
| 26 | 30-34.493 | 1342989209061529 | Kabel v. Steckverbinder z. Blinkleuchte vorn rechts | Cable from terminal board to front trafficator right | 1 | |||||
| 27 | 30-34.446 | 1342989209060729 | Kabel v. Steckverbinder z. Sirene | Cable from terminal board to siren | 1 | |||||
| 28/29 | Flachstecker 6,3 - 2,5 TGL 35169 | Push-on connector 6,3 - 2,5 TGL 35169 | 2 | |||||||
| 30 | 30-34.413 | 1342989207197629 | Kabel v. Steckverbinder z. Impulsgeber | Cable from terminal board to impulse sensor | 1 | |||||
| 31 | 30-34.445 | 1342989207194129 | Kabel v. Steckverbinder z. Impulsgeber | Cable from terminal board to impulse sensor | 1 | |||||
| 32 | 95-19.877 | Signalstab 6237 | Signal baton 6237 | 1 | ||||||
| 33 | 94-32.147 | Hutmutter M 6 TGL 0-1587-6 | Acron nut M 6 TGL 0-1587-6 | 4 | ||||||
| 34 | 94-37.867 | Federring B 6 TGl 7403 | Spring ring B 6 TGL 7403 | 4 | ||||||
| 35 | 94-36.013 | Scheibe 6,4 TGL 0-125-St | Washer 6,4 TGL 0-125-St | 8 | ||||||
| 36 | 30-38.533 | 1342989209123929 | Kabelschelle aufgeb. | Cable clip | 1 | |||||
| 37 | 94-03.882 | Sechskantschraube M 6x14 TGL 0-933-8.8 | Hexagon screw M 6x14 TGL 0-933-8.8 | 8 | ||||||
| 38 | 30-38.416 | 1342989209120429 | Befestigungswinkel | Fastening angle | 1 | |||||
| 39 | 30-38.408 | 1342989209119129 | Unterer Befestigungswinkel | Bottom fastening angle | 1 | |||||
| 40 | 02-48.071 | Verschluszstopfen | Cover plug | 1 | ||||||
| 41 | 22-38.188 | 1342989209124729 | Klemmschelle | Clamp | 4 | |||||
| 42 | 30-34.412 | 1342949207192529 | Kabel v. Steckverbinder z. Impulsgeber | Cable from terminal board to impulse sensor | 1 | |||||
| 43 | 30-34.492 | 1342949207193329 | Kabel v. Steckverbinder z. Scheinwerfer | Cable from terminal board to headlamp | 1 | |||||
| 44/45 | Flachstecker 6,3 - 1 TGL 35169 | Push-on connector 6,3 - 1 TGL 35169 | 4 | |||||||
| 46 | 30-38.440 | 1342989209114029 | Winkel fuer Armaturenbrett | Instrument panel angle | 1 | |||||
| 47 | 94-06.401 | Flachrundschraube M 5x20 TGL 0-603 | Ovalhead screw M 5x20 TGL 0-63 | 2 | ||||||
| 48 | Einbau-Blinkleuchte 8580.18 | Built-in trafficator 8580.18 | 2 | |||||||
| 50 | 30-38.530 | Keder fuer Beinschutz links | Strip for legshild left | 1 | ||||||
| 30-38.531 | Keder fuer Beinschutz rechts | Strip for legshild right | 1 | |||||||
| 51/52 | 94-49.155 | Hohlniet A C 5x12x9 TGL 0-7331 | Hollow rivet A C 5x12x9 TGL 0-7331 | 12 | ||||||
| 53 | 94-30.282 | Sechskantmutter M 4 TGL 0-934-6 | Hexagon nut M 4 TGL 0-934-6 | 4 | ||||||
| 54 | 94-37.787 | Federring B 4 TGL 7403 | Spring ring B 4 TGL 7403 | 1 | ||||||
| 55 | 94-35.785 | Scheibe 5,3 TGL 0-9021-St | Washer 5,3 TGL 0-9021-St | 2 | ||||||
| 94-06.241 | Sechskantschraube M 8x45 TGL 0-933-8.8 | Hexagon screw M 8x45 TGL 0-933-8.8 | 2 | |||||||
| 94-30.723 | Sechskantmutter M 8 TGL 0-934-6 | Hexagon nut M 8 TGL 0-934-6 | 2 | |||||||
| 00-70.801 | 1342949207004129 | Scheibe 8,4 TGL 0-125-St | Washer 8,4 TGL 0-125-St | 4 | ||||||
| 94-37.988 | Federring B 8 TGL 7403 | Spring ring B 8 TGL 7403 | 5 | |||||||
| 94-30.723 | Sechskantmutter M 8 TGL 0-934-6 | Hexagon nut M 8 TGL 0-934-6 | 2 | |||||||
| 94-30.522 | Sechskantmutter M 6 TGL 0-934-6 | Hexagon nut M 6 TGL 0-934-6 | 4 | |||||||
| 94-36.013 | Scheibe 6,4 TGL 0-125-St | Washer 6,4 TGL 0-125-St | 4 | |||||||
| 94-37.867 | Federring B 6 TGL 7403 | Spring ring B6 TGL 7403 | 4 | |||||||
| 30-34.438 | Gummikappe fuer Sirene | Siren rubber cap | 1 |

| Bild-Nr. Ref.No. | Teilnummer Part.Nr. | ZAK-Nr. | Bezeichnung | Description | Anzahl Quantity | Bemerkung Remarks | R | VE PU | VT X | N N |
| 1 | 94-30.290 | Mutter 5.000233 (4) 2 | Nut 5.000233 (4) 2 | 2 | ||||||
| 2 | 95-48.455 | Buegel lang fuer Tachometer | Bow long for speedometer | 2 | ||||||
| 3 | 94-14.965 | Zylinderschraube BM 4x8 TGL 0-84-5.8 | Fillisterhead Screw BM 4x8 TGL 0-84-5.8 | 4 | ||||||
| 4 | 94-37.787 | Federring B 4 TGL 7403 | Spring ring B 4 TGL 7403 | 4 | ||||||
| 5 | 94-32.171 | Hutmutter M 4 TGL 0-1587-6 | Acron nut M 4 TGL 0-1587-6 | 4 | ||||||
| 6 | 94-35.703 | Scheibe 4,3 TGL 0-125-St | Washer 4,3 TGL 0-125-St | 4 | ||||||
| 7 | 30-38.403 | 1342989209098129 | Armaturenbrett (bei U 600) | Instrument panel (with U600) | 1 | |||||
| 30-38.571 | 1342989209097329 | Armaturenbrett (bei U 700) | Instrument panel (with U700) | 1 | ||||||
| 8 | Meldeleuchte Nr. 9 gruen | Pilot lamp no. 9 green | 4 | |||||||
| 9 | Schalter 21082.5/3303a | Switch 21082.5/3303a | 3 | |||||||
| 10 | entfaellt | not applicable | 0 | |||||||
| 11 | 95-22.261 | Napf H 12,5x6 FWBN 336.102 | Cup H 12,5x6 FWBN 336.102 | 3 | ||||||
| 12 | 95-22.253 | Scheibe K 12,5 FWBN 336.102 | Washer K 12,5 FWBN 336.102 | 3 | ||||||
| 13 | 95-22.245 | Kappe G 8x16 FWBN 336.102 | Cup G 8x16 FWBN 336.102 | 3 | ||||||
| 14 | Zuendlichtschalter 8626.1/8 | Ignition switch 8626.1/8 | 1 | |||||||
| 15 | 94-18.366 | Senkschraube BM 4x16 TGL 5683-5.8 | Self tapping screw BM 4x16 TGL 5683-5.8 | 3 | ||||||
| 16 | 30-34.061 | Abdeckplatte Unterteil | Cover plate, bottom | 1 | ||||||
| 17 | 30-34.059 | Abdeckschieber | Cover slide | 1 | ||||||
| 18 | 30-34.060 | Abdeckplatte Oberteil | Cover plate, top | 1 | ||||||
| 19 | 94-28.681 | Senkblechschraube K 3,9x13 TGL 0-7972 | Self tapping screw K 3,9x13 TGL 0-7972 | 2 | ||||||
| 20 | 95-48.350 | Rundtachometer 3.0220/14 | Speedometer 3.0220/14 | 1 | ||||||
| 21 | 95-48.375 | Drehzahlmesser m. Kontrolleuchten 3.0245/11 | Tachometer c/w pilot lamps 3.0245/11 | 1 | ||||||
| 95-21.412 | Zuendschluessel 8629.2 | Ignition key 8629.2 | 1 | |||||||
| 95-23.527 | Skalenlampe 12V/3W So. E 10 TGL 9816 | Illumination bulb 12V/3W So. E 10 TGL 9816 | 4 | |||||||
| 30-34.516 | 1342989209063129 | Halteblech links vst., fuer Bedienteil | Support left compl. for control board | 1 | ||||||
| 30-34.518 | 1342989209065829 | Halteblech rechts vst. fuer Bedienteil | Support right compl. for control board | 1 |
| Bild-Nr. Ref.No. | Teilnummer Part.Nr. | ZAK-Nr. | Bezeichnung | Description | Anzahl Quantity | Bemerkung Remarks | R | VE PU | VT X | N N |
| 30-34.471 | 1342989209028729 | Befestigungsblech | Support sheet | 1 | ||||||
| Umschalter 0007 40 V 35 A | Selector switch 0007 40V 35A | 1 | ||||||||
| 94-14.965 | Zylinderschraube BM 4x8 TGL 0-84-5.8 | Fillisterhead screw BM 4x8 TGL 0-84-5.8 | 2 | |||||||
| 94-30.282 | Sechskantmutter M 4 TGL 0-934-6 | Hexagon nut M 4 TGL 0-934-6 | 4 | |||||||
| 94-37.787 | Federring B 4 TGL 7403 | Spring ring B 4 TGL 7403 | 4 | |||||||
| Winkelsteckdose 8820.102/1 | Angular socket 8820.102/1 | 1 | ||||||||
| 94-15.121 | Zylinderschraube M 4x16 TGL 0-84-4.8 | Fillisterhead screw M 4x16 TGL 0-84-4.8 | 1 | |||||||
| 96-36.174 | Zylinderschraube AM 4x15 TGL 0-84 | Angular socket AM 4x15 TGL 0-84 | 1 | |||||||
| Sicherungshuelse 8819.1/1 | Fuse sleeve 8819.1/1 | 1 | ||||||||
| Schmelzeinsatz A 8 TGL 11135 | Fuse A 8 TGL 11135 | 1 | ||||||||
| Leitungsverbinder | Terminal board | 2 |
| Bild-Nr. Ref.No. | Teilnummer Part.Nr. | ZAK-Nr. | Bezeichnung | Description | Anzahl Quantity | Bemerkung Remarks | R | VE PU | VT X | N N |
| 30-34.407 | 1342989209027929 | Kabel v. Zuendlichtschalter zur Sicherungsdose | Cable from ignition switch to fuse board | 1 | ||||||
| 30-34.472 | 1342989209029529 | Batteriekabel | Battery cable | 1 | ||||||
| 30-34.064 | 1342989207093029 | Kabel v. Zuendlichtschalter z. Leitungsverb. | Cable from ignition switch to terminal board | 1 | ||||||
| 30-34.458 | 1342989209030829 | Kabel f. Lichtkasten v. Steckdose | Cable from light box to socket | 1 | ||||||
| 30-34.473 | 1342989209031629 | Kabel f. Funkgeraet | Radio set cable | 1 | ||||||
| 30-34.544 | 1342989209032629 | Kabel Steckdose U 700 | Socket cable U 700 | 1 | ||||||
| 30-34.442 | 1342989209034029 | Verbindungskabel | Connection cable | 1 | ||||||
| 30-34.422 | 1342989209036729 | Kabel v. Sich.-dose z. Relais | Cable from fuse box to relay | 1 | ||||||
| 30-34.408 | 1342989209037529 | Kabel v. Sicherungsdose z. Blaulichtschalter | Cable from fuse box to bluelight switch | 2 | ||||||
| 30-34.407 | 1342989209027929 | Kabel v. Zuendlichtschalter z. Sicherungsdose | Cable from ignition switch to fuse box | 1 | ||||||
| 30-34.425 | 1342989209038329 | Kabel v. Massepunkt z. Relais | Cable from earth connection to relay | 1 | ||||||
| 30-34.431 | 1342989209039129 | Kabel v. Sich.-dose z. Relais u. Blinkgeber | Cable from fuse box to relay and trafficator unit | 1 | ||||||
| 30-34.409 | 1342989209040429 | Kabel v. Blinklichtschalter z. Impulsgeber | Cable from trafficator switch to impulse sensor | 1 | ||||||
| 30-34.444 | 1342989209041429 | Kabel v. Schalter Sirene z. Impulsgeber | Cable from siren switch to impulse sensor | 1 | ||||||
| 30-34.453 | 1342989209042029 | Kabel v. Schalter Lichtkasten z. Impulsgeber | Cable from light box switch to impulse sensor | 2 | ||||||
| 30-34.406 | 1342989209043929 | Masseverbindungskabel | Earth connection cable | 3 | ||||||
| 30-34.443 | 1342989209044729 | Kabel v. Sich.-dose z. Schalter Sirene | Cable from fuse box to siren switch | 1 | ||||||
| 30-34.452 | 1342989209045529 | Kabel v. Sich.-dose z. Schalter f. Lichtkasten | Cable from fuse box to light box switch | 1 | ||||||
| 30-34.410 | 1342989209046329 | Kabel v. Impulsgeber z. Blaulichtkontrolleuchte | Cable from impulse sensor to bluelight pilot lamp | 1 | ||||||
| 30-34.455 | 1342989209047129 | Kabel v. Impulsgeber z. Lichtkastenkontrolleuchte | Cable from impulse sensor to light box pilot lamp | 1 | ||||||
| 30-34.402 | 1342989209050029 | Kabel v. Steckverbinder z. Blinklichtleuchte | Cable from terminal board to rotating beacon | 1 | ||||||
| 30-34.491 | 1342989209051929 | Kabel v. Steckverb. z. Blinkl. vorn links | Cable from terminal board to front trafficator, left | 1 | ||||||
| Isolierteil A 4 TGL 35 169-0 | Insulator A 4 TGL 35 169-0 | 1 | ||||||||
| Flachstecker 6,3-1 TGL 35 169 | Push-on connector 6,3-1 TGL 35 169 | 4 | ||||||||
| 30-34.446 | 1342989209060729 | Kabel v. Steckverb. z. Sirene | Cable from terminal board to siren | 1 | ||||||
| 30-34.493 | 1342989209061529 | Kabel v. Steckverbindung zur Blinkleuchte vorn rechts | Cable from terminal board to front trafficator, right | 1 | ||||||
| Isolierteil A 6 TGL 35 169-1 | Insulator A 6 TGL 35 169-1 | 1 | ||||||||
| Flachstecker 6,3-2,5 TGL 35 169 | Push-on connector 6,3-2,5 TGL 35 169 | 2 | ||||||||
| 30-34.430 | Kabel fuer elektr. Horn | Signal horn cable | 1 | |||||||
| 30-34.419 | 1342989209149029 | Kabel v. Tachometer z. Scheinwerfer | Cable from speedometer to headlamp | 1 | ||||||
| 30-34.412 | 1342989207192529 | Kabel v. Steckverb. links z. Impulsgeber | Cable from terminal board left to impulse sensor | 1 | ||||||
| 30-34.492 | 1342989207193329 | Kabel v. Steckverb. z. Scheinwerfer | Cable from terminal board to headlamp | 1 | ||||||
| Isolierteil B 4 TGL 35 169-0 | Insulator B 4 TGL 35 169-0 | 1 | ||||||||
| Flachstecker 6,3-1 TGL 35 169 | Push-on connector 6,3-1 TGL 35 169 | 4 | ||||||||
| 30-34.445 | 1342989207194129 | Kabel Steckverb. z. Impulsgeber | Push-on connector cable to impulse sensor | 1 | ||||||
| 30-34.494 | 1342989207196829 | Kabel Steckverb. z. Scheinwerfer | Push-on connector cable to headlamp | 1 | ||||||
| 30-34.413 | 1342989207197629 | Kabel Steckverb. z. Impulsgeber | Push-on connector cable right, to impulse sensor | 1 | ||||||
| Isolierteil B 6 TGL 35 169-1 | Insulator B 6 TGL 35 169-1 | 1 | ||||||||
| Flachsteckhuelse 6,3-2,5 TGL 35 169 | Push-on connector sleeve 6,3-2,5 TGL 35 169 | 2 | ||||||||
| 30-34.433 | 1342989207122029 | Kabel v. Blinkgeber z. Leitungsverb. | Cable from trafficator unit to terminal board | 1 | ||||||
| 30-34.495 | 1342989207200429 | Kabel fuer Bremslichtschalter hinten | Rear stop light cable | 1 |

| Bild-Nr. Ref.No. | Teilnummer Part.Nr. | ZAK-Nr. | Bezeichnung | Description | Anzahl Quantity | Bemerkung Remarks | R | VE PU | VT X | N N |
| 1 | 96-36.551 | Kabelbandknopf ETW-N 60507 | Cable strip button ETW-N 60507 | 1 | ||||||
| 2 | 94-15.685 | Zylinderschraube BM 5-18 TGL 0-84-5.8 | Fillisterhead screw BM 5-18 TGL 0-84-5.8 | 2 | ||||||
| 3 | Sicherungsdose 8811.14 | Fuse box 8611.14 | 1 | |||||||
| 4 | 94-30.723 | Sechskantmutter M 8 TGL 0-934-6 | Hexagon nut M 8 TGL 0-934-6 | 2 | ||||||
| 5 | 94-37.988 | Federring B 8 TGL 7403 | Spring ring B 8 TGL 7403 | 2 | ||||||
| 6 | 00-70.801 | 1342949207004129 | Scheibe 8,4 TGL 0-125-St | Washer 8,4 TGL 0-125-St | 2 | |||||
| 7 | 94-05.378 | Sechskantschraube M 8x16 TGL 0-933-8.8 | Hexagon screw M 8x16 TGL 0-933-8.8 | 2 | ||||||
| 8 | Impulsgeber 12V/120W TGL 4486 8901.1 | Impulse sensor 12V/120W TGL 4486 8901.1 | 1 | |||||||
| 9 | 94-37.826 | Federring B 5 TGL 7403 | Spring ring B 5 TGL 7403 | 2 | ||||||
| 10 | 94-30.362 | Sechskantmutter M 5 TGL 0-934-6 | Hexagon nut M 5 TGL 0-934-6 | 2 | ||||||
| 11 | Impulsgeber 8901.4/1 m. verl. Einschaltd. 12V/120W TGL4486 | Impulse sensor 8901.4/1 with prol. inter. 12V/120W | 1 | |||||||
| 12 | Kabelband 200 ETW-N 60507 | Cable strip ETW-N 60507 | 1 | |||||||
| 13 | 30-34.423 | 1342949207276829 | Spezialmutter | Spzial nut | 1 | |||||
| 14 | Relais (12V) 8672.11/1 KW 12-H TGL 25384 | Relay(12V) 8672.11/1 KW 12-H TGL 25384 | 2 | |||||||
| 15/27 | 94-35.865 | Scheibe 5,3 TGL 0-125-St | Washer 5,3 TGL 0-125-St | 5 | ||||||
| 94-37.826 | Federring B 5 TGL 7403 | Spring ring B 5 TGL 7403 | 3 | |||||||
| 17 | 94-35.865 | Scheibe 5,3 TGL 0-125-St | Washer 5,3 TGL 0-125-St | 1 | ||||||
| 18 | 94-15.798 | Zyl.-schr. KM 5x30 TGL 0-84-4.8 | Fillisterhead screw KM 5x30 TGL 0-84-4.8 | 1 | ||||||
| 19 | 13-25.031 | Isolierbuechse | Insulator sleeve | 1 | ||||||
| 20 | 00-18.206 | 1352934201015629 | Scheibe | Washer | 1 | |||||
| 00-70.801 | 1342949207004129 | Scheibe 8,4 | Washer 8,4 | 1 | ||||||
| 21 | 05-25.043 | Isolierscheibe | Insulating washer | 1 | ||||||
| 22 | 94-30.362 | Sechskantmutter M 5 TGL 0-934-6 | Hexagon nut M 5 TGL 0-934-6 | 2 | ||||||
| 23 | 30-34.431 | 1342989209039129 | Befestigungswinkel | Support angle | 1 | |||||
| 24 | 30-34.131 | Einhaengegummi | Suspension rubber | 1 | ||||||
| 25 | Blinkgeber 8582.19/50 | Trafficator unit 8582.19/50 | 1 | |||||||
| 94-15.564 | Zyl.-schraube BM 5x10 TGL 0-84-5.6 | Hexagon screw BM 5x10 TGL 0-84-5.6 | 3 | |||||||
| Schmelzeinsatz A 4 TGL 11135 | Fuse A 4 TGL 11135 | 1 | ||||||||
| Schmelzeinsatz A 8 TGL 11135 | Fuse A 8 TGL 11135 | 2 | ||||||||
| Schmelzeinsatz A16 TGL 11135 | Fuse A16 TGL 11135 | 1 | ||||||||
| 30-34.547 | 1342989209033229 | Verbindung Sicherungsdose | Fuse box connection | 1 |

| Bild-Nr. Ref.No. | Teilnummer Part.Nr. | ZAK-Nr. | Bezeichnung | Description | Anzahl Quantity | Bemerkung Remarks | R | VE PU | VT X | N N |
| 1 | 30-38.498 | 1342989209146629 | Deckel fuer Haube | Cover | 1 | |||||
| 2 | 94-19.912 | Linsensenkschraube BM 4x12 TGL 16524-4.8 | Ovalhead countersunk BM 4x12 TGL 16524-4.8 | 2 | ||||||
| 3 | 94-37.787 | Federring B 4 TGL 7403 | Spring ring B 4 TGL 7403 | 4 | ||||||
| 4 | 94-30.282 | Sechskantmutter M 4 TGL 0-934-6 | Hexagon nut M 4 TGL 0-934-6 | 4 | ||||||
| 5 | 30-34.527 | 1342989209074629 | Stuetzwinkel vollst. | Support angle compl. | 1 | |||||
| 6 | 94-35.703 | Schraube 4,3 TGL 0-125-St | Screw 4,3 TGL 0-125-St | 4 | ||||||
| 7 | 30-34.530 | Dichtkeder | Sealing strip | 1 | ||||||
| 8 | Zylindereinbauschloss II. TGL 48-33202 | Cylinder lock II. TGL 48-33202 | 1 | |||||||
| 9 | 30-34.502 | 1342989209067429 | Verschlusshaken | Locking hook | 1 | |||||
| 10 | 30-34.504 | 1342989209062329 | Exzenter | Excenter | 1 | |||||
| 11 | Scheibe 25x1,5 f. Zylinderschloss I. TGL 48-33202 | Washer 25x1,5 dia. for cylinder lock I. TGL48-33202 | 1 | |||||||
| 12 | Sechs.-mutter M 18x1 f. Zyl.-schloss TGL 48-33202 | Hexagon nut M 18x1 for cylinder lock TGL 48-33202 | 1 | |||||||
| 13 | 94-15.322 | Zylinderschraube BM 4x30 TGL 0-84-5.8 | Fillisterhead screw BM 4x30 TGL 0-84-5.8 | 12 | ||||||
| 14 | 30-34.508 | 1342989209076229 | Ringunterlage | Ring support | 4 | |||||
| 15 | 30-34.507 | 1342989209075429 | Zwischenring | Spacer | 4 | |||||
| 16 | 94-35.703 | Scheibe 4,3 TGL 0-125-St | Washer 4,3 TGL 0-125-St | 12 | ||||||
| 17 | 94-37.787 | Federring B 4 TGL 7403 | Spring ring B 4 TGL 7403 | 12 | ||||||
| 18 | 94-30.282 | Sechskantmutter M 4 TGL 0-934-6 | Hexagon nut M 4 TGL 0-934-6 | 12 | ||||||
| 19 | 96-75.847 | Kabeltuelle A 20x2,5 TGL 14999/01 | Cable sleeve A 20x2,5 TGL 14999/01 | 1 | ||||||
| 20 | 96-75.830 | Kabeltuelle A 10x2,5 TGL 14999/01 | Cable sleeve A 10x2,5 TGL 14999/01 | 1 | ||||||
| 21 | 06-75.855 | Kabeltuelle A 16x2,5 TGL 14999/01 | Cable sleeve A 16x2,5 TGL 14999/01 | 1 | ||||||
| 22 | 84-37.826 | Federring B 5 TGL 7403 | Spring ring B 5 TGL 7403 | 2 | ||||||
| 23 | 93-30.362 | Sechskantmutter M 5 TGL 0-934-6 | Hexagon nut M 5 TGL 0-934-6 | 4 | ||||||
| 24 | 30-34.515 | 1342989209073829 | Halteblech fuer Antenne | Aerial support | 1 | |||||
| 25 | 94-35.945 | Scheibe 5,3 TGL 0-9021-St | Washer 5,3 TGL 0-9021-St | 2 | ||||||
| 26 | 94-15.603 | Zylinderschraube BM 5x12 TGL 0-84-5.8 | Fillisterhead screw BM 5x12 TGL 0-84-5.8 | 4 | ||||||
| 27 | Halogenlampe 12V/55W PK 22 s | Halogen bulb 12V/55W PK 22 s | 1 | |||||||
| 28 | 22-34.154 | 1342989209071129 | Reflektor | Light unit | 1 | |||||
| 29 | entfaellt | not applicable | 0 | |||||||
| 30 | 94-35.865 | Scheibe 5,3 TGL 0-125-St | Washer 5,3 TGL 0-125-St | 9 | ||||||
| 31 | 94-37.826 | Federring B 5 TGL 7403 | Spring ring TGL 7403 | 6 | ||||||
| 32 | 94-32.188 | Hutmutter M 5 TGL 0-1587-6 | Acron nut M 5 TGL 0-1587-6 | 2 | ||||||
| 33 | 30-34.520 | 1342989209070329 | Rahmen f. Streuscheibe | Lens frame | 1 | |||||
| 34 | 30-34.513 | Streuscheibe 'Bitte folgen' | 'Follow me' lens | 1 | ||||||
| 35 | 22-34.224 | 1342989209069029 | Gewindestueck | Thread connection | 1 | |||||
| 94-18.286 | Senkschraube BM 4x20 TGL 5683-5.8 | Self tapping screw BM 4x10 TGL 5683-5.8 | 4 | |||||||
| 94-19.937 | Linsensenkschraube BM 4x20 TGL 16524-4.8 | Ovalhead countersunk screw BM 4x20 TGL 16524-4.8 | 1 | |||||||
| 30-34.526 | Stuetzfeder | Support spring | 1 | |||||||
| 94-18.325 | Senkschraube BM 4x12 TGL 5683-5.8 | Self tapping screw 4x12 TGL 5683-5.8 | 2 | |||||||
| 94-30.723 | Sechskantmutter M 8 TGL 0-934-6 | Hexagon nut M 8 TGL 0-934-6 | 4 | |||||||
| 94-38.386 | Federscheibe 8 TGL 0-137 | Spring washer 8 TGL 0-137 | 4 | |||||||
| 95-22.300 | Antenne 2 (AS) 5 vollst. mit Kabel | Aerial 2 (AS) 5 c/w cable | 1 | |||||||
| 94-49.135 | Hohlniet AC 5x12x9 TGL 0-7331 | Hollow rivet AC 5x12x9 TGL 0-7331 | 2 | |||||||
| 30-34.503 | 1342989209068229 | Sich.-blech | Tap washer | 1 | ||||||
| 30-34.505 | Gummiprofil | Rubber strip | 1 | |||||||
| 30-34.503 | 1342989209068229 | Vorderes Zwischenblech vollst. | Front intermediate sheet compl. | 1 | ||||||
| 30-34.510 | 1342959209078929 | Hinteres Zwischenblech vollst. | Rear intermediate sheet compl. | 1 | ||||||
| 94-30.522 | Sechskantmutter M 6 TGL 0-934-6 | Hexagon nut M 6 TGL 0-934-6 | 4 | |||||||
| 94-36.062 | Scheibe 6,4 TGL 0-9021-St | Washer 6,4 TGL 0-9021-St | 4 | |||||||
| 94-37.867 | Federring B 6 TGL 7403 | Spring ring B 6 TGL 7403 | 4 | |||||||
| 94-36.013 | Scheibe 6,4 TGL 0-125-St | Washer 6,4 TGL 0-125-St | 2 | |||||||
| 30-34.538 | 1342989209079729 | Masseband 100 | Earth strip 100 | 1 | ||||||
| 30-34.539 | 1342989209081829 | Masseband 130 | Earth strip 130 | 1 | ||||||
| 94-15.564 | Zyl.-schraube BM 5x10 TGL 0-84-5.6 | Fillisterhead screw BM 5x10 TGL 0-84-5.6 | 4 |

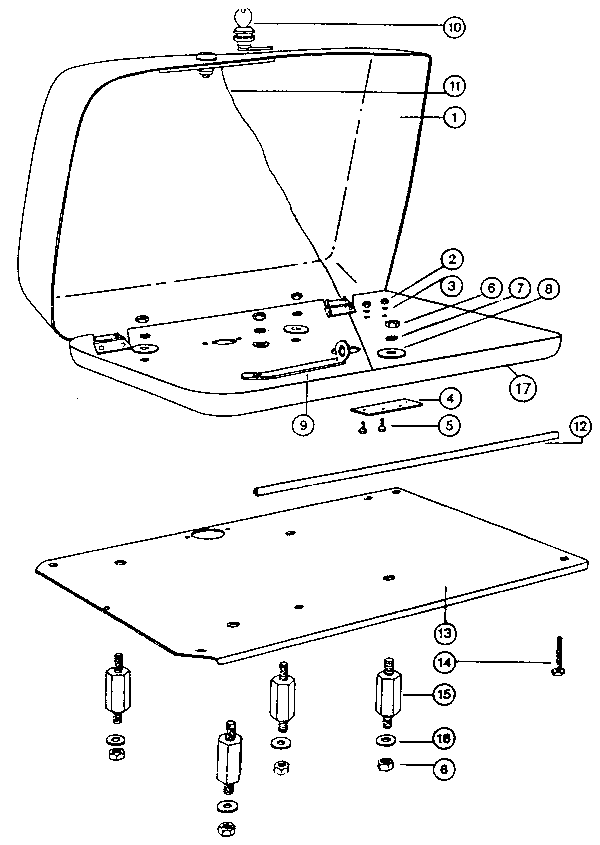
| Bild-Nr. Ref.No. | Teilnummer Part.Nr. | ZAK-Nr. | Bezeichnung | Description | Anzahl Quantity | Bemerkung Remarks | R | VE PU | VT X | N N |
| 1 | 30-38.554 | 1342989209087729 | Funkgehaeusedeckel | Radio set cover | 1 | |||||
| 2 | 94-30.522 | Sechskantmutter M 6 TGL 0-934-6 | Hexagon nut M 6 TGL 0-9021-St | 2 | ||||||
| 3 | 94-37.867 | Federring B 6 TGL 7403 | Spring ring B 6 TGL 7403 | 5 | ||||||
| 94-36.062 | Scheibe 6,4 TGL 0-9021-St | Washer 6,4 TGL 0-9021-St | 2 | |||||||
| 4 | 30-38.583 | Antennenhalterung | Aerial support | 1 | ||||||
| 5 | 94-03.962 | Sechskantschraube M 6x16 TGL 0-922-8.8 | Hexagon screw M 6x16 TGL 0-933-8.8 | 4 | ||||||
| 6 | 94-30.723 | Sechskantmutter M 8 TGL 0-934-6 | Hexagon nut M 8 TGL 0-934-6 | 8 | ||||||
| 7 | 94-37.988 | Federring B 8 TGL 7403 | Spring ring B 8 TGL 7403 | 8 | ||||||
| 8 | 94-36.142 | Scheibe 8,4 TGL 0-9021-St | Washer 8,4 TGL 0-9021-St | 8 | ||||||
| 9 | 30-38.565 | 1342989209004229 | Verschlusshaken abgewinkelt | Angulator locking hook | 1 | |||||
| 10 | Zyl.-einbauschloss II TGL 48-33202 | Cylinder lock II TGL 48-33202 | 1 | |||||||
| 11 | 00-70.013 | 1342989209145829 | Oeffnungsbegrenzung | Opening limiter | 1 | |||||
| 12 | U-Profil | U-section | 1 | |||||||
| 13 | 30-38.556 | 1342989209085029 | Grundplatte vollst. | Base plate compl. | 1 | |||||
| 14 | 94-04.096 | Sechskantschraube M 6x20 TGL 0-933-8.8 | Hexagon screw M 6x20 TGL 0-933-8.8 | 1 | ||||||
| 15 | Gewindezapfen M 8 | Tread plug M 8 | 4 | |||||||
| 16 | 94-36.142 | Scheibe 8,4 TGL 0-9021-St | Washer 8,4 TGL 0-9021-St | 4 | ||||||
| 17 | 30-38.552 | 1342989209086929 | Funkgehaeuseunterteil | Radio set housing bottom | 1 | |||||
| 30-38.564 | 1342989209088529 | Scharnier | Hinge | 2 | ||||||
| 94-20.055 | Linsenschraube BM 3x10 TGL 0-85-4.8 | Ovalhead screw BM 3x10 TGL 0-85-4.8 | 9 | |||||||
| 94-30.200 | Sechskantmutter M 3 TGL 0-934-6 | Hexagon nut M 3 TGL 0-934-6 | 8 | |||||||
| 94-37.770 | Federring B 3 TGL 7403 | Spring ring B 3 TGL 7403 | 8 | |||||||
| 30-38.550 | Anschlagblech | Stop sheet | 1 | |||||||
| 30-38.459 | 1342989209083429 | Verschlusshaken | Locking hook | 1 | ||||||
| 00-18.131 | 1342949207029529 | Scheibe | Washer | 1 | ||||||
| 30-34.534 | 1342989209091429 | Masseband Funkgeraet | Earth strip radio set | 1 | ||||||
| 30-34.542 | 1342989209092229 | Kabel f. Funkgeraet | Radio set cable | 1 | ||||||
| 30-34.543 | 1342989209093029 | Kabel Sich.-huelse - Funkgeraet | Cable fuse sleeve - radio set | 1 | ||||||
| Schmelzeinsatz A 2-4 TGL 111135 | Fuse A 2-4 TGL 111135 | 1 | ||||||||
| Regler DLR-2 14V TGL 33604 Kenn-Nr. 8142.5/1 | Regulator DLR-2 14V TGL33604 Kenn-Nr. 8142.5/1 | 1 | ||||||||
| 30-34.545 | 1342989209094929 | Grundplatte f. Regler | Regulator base plate | 1 | ||||||
| 94-15.933 | Zylinderschraube BM 5x40 TGL 0-84-5.8 | Fillisterhead screw BM 5x40 TGL 0-84-5.8 | 2 | |||||||
| 94-35.865 | Scheibe 5,3 TGL 0-125-St | Washer 5,3 TGL 0-125-St | 2 | |||||||
| 30-27.010 | 1342949207035929 | Huelse | Sleeve | 2 | ||||||
| 94-38.304 | Federscheibe 5 TGL 0-137 | Spring washer 5 TGL 0-137 | 2 | |||||||
| 94-30.382 | Sechskantmutter M 5 TGL 0-934-5.6 | Hexagon nut M 5 TGL 0-934-5.6 | 2 | |||||||
| 30-34.546 | 1342989209095729 | Verbind.-kabel | Connection cable | 1 | ||||||
| 30-34.541 | 1342989209096529 | Kabel v. elektron. Regler zu M 8 | Cable from electronic regulator to M 8 | 1 | ||||||
| 95-22.294 | Helmsprechgarnitur | Interphon headset | 1 | |||||||
| Kabelband 130 ETW-N 60507 | Cable strip 130 ETW-N 60507 | 1 | ||||||||
| 96-36.551 | Kabelbandknopf ETW-N 60507 | Cable strip button ETW-N 60507 | 1 |