'neu' entworfen von Miraculis
|
Voraussetzung:
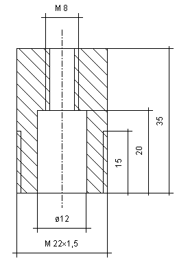
Die technische Zeichnung: |

|
Also, wie zu sehen ist, besteht der Abzieher aus einem einfachen Drehteil. Wie man die Teile auf der Drehbank herstellt, ist wohl jedem klar, der so eine Zerspaneinrichtung bedienen kann, oder? |